Tunturi Stepper Bruksanvisning
Tunturi
treningsaparat
Stepper
Les nedenfor 📖 manual på norsk for Tunturi Stepper (40 sider) i kategorien treningsaparat. Denne guiden var nyttig for 4 personer og ble vurdert med 4.4 stjerner i gjennomsnitt av 2.5 brukere
Side 1/40

STEPPER
STEP UP CP
Installation and operating-
Manual
14TUSFU239
1 4 T U S F
U 2 4 0

2
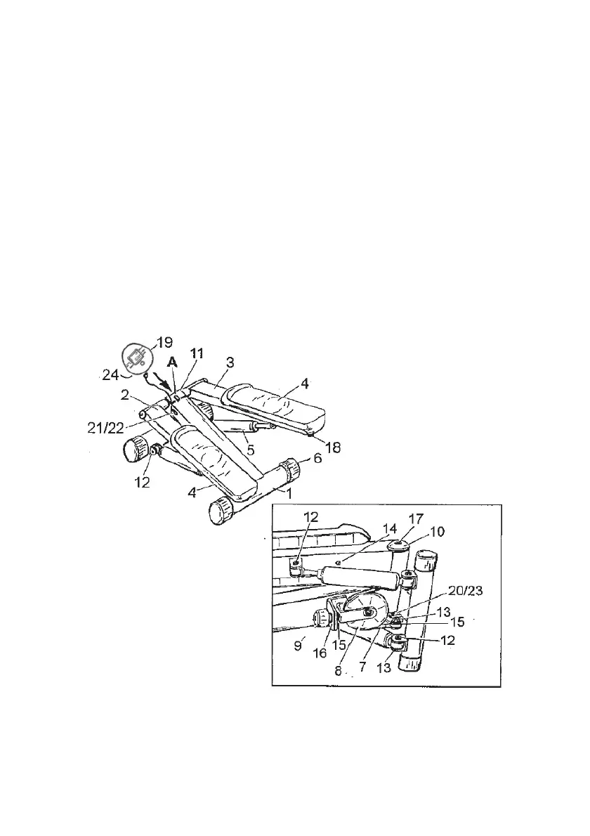
Assembly Instructions
1. Please Keep the box until you have a full functional test have performed.
2. Your st
ep-up is completely pre-assembled. You can instantly start
the training you need to connect the computer only in advance.
3. To do this, first insert the batteries (pay attention to plus/min-indication) in
the battery compartment at the bottom of the computer (19). Insert then the
sensor cable (21) under the computer into the electrical outlet.
4. Slide now the computer horizontally in front of the Central tube
on the att
achment
A.
Produkspesifikasjoner
Merke: | Tunturi |
Kategori: | treningsaparat |
Modell: | Stepper |
Trenger du hjelp?
Hvis du trenger hjelp med Tunturi Stepper still et spørsmål nedenfor, og andre brukere vil svare deg
treningsaparat Tunturi Manualer
15 September 2025
15 September 2025
15 September 2025
15 September 2025
15 September 2025
15 September 2025
15 September 2025
14 September 2025
14 September 2025
14 September 2025
treningsaparat Manualer
- Horizon Fitness
- Best Fitness
- BodyCraft
- Biltema
- Christopeit
- Body Solid
- Active Intent Fitness
- Taurus
- SereneLife
- NordicTrack
- Sanitas
- Vitalmaxx
- True
- Maxxus
- Flow Fitness
Nyeste treningsaparat Manualer
12 Oktober 2025
6 Oktober 2025
5 Oktober 2025
30 September 2025
26 September 2025
22 September 2025
18 September 2025
17 September 2025
17 September 2025
16 September 2025