Vimar ELVOX 570C Bruksanvisning
Vimar
fotokamera
ELVOX 570C
Les nedenfor 📖 manual på norsk for Vimar ELVOX 570C (8 sider) i kategorien fotokamera. Denne guiden var nyttig for 5 personer og ble vurdert med 4.7 stjerner i gjennomsnitt av 3 brukere
Side 1/8

Cod. S6I.570.C00
RL.01 5/2012
Il prodotto è conforme alla direttiva europea 2004/108/CE, 2006/95/CE e successive.
Product is according to EC Directive 2004/108/CE, 2006/95/CE and following norms.
Le produit est conforme à la directive européenne 2004/108/CE, 2006/95/CE et suivantes.
Das Produkt entspricht den europäischen Richtlinien 2004/108/CE, 2006/95/CE und Nachfolgenden.
El producto es conforme a la directiva europea 2004/108/CE, 2006/95/CE y sucesivas.
O produto está conforme a directiva europeia 2004/108/CE, 2006/95/CE e seguintes.
PDGB EFI
Art. 570C
ANWEISUNGEN FÜR DEN ANSCHLUSS DER KAMERA-
EINHEIT
INSTRUCCIONES PARA EL CONEXIONADO DE LA CÁ-
MARA
INSTRUÇÕES PARA A LIGAÇÃO DA TELECÂMARA
MANUALE PER IL COLLEGAMENTO E L’USO - INSTALLATION AND OPERATION MANUAL - MANUEL POUR LA CONNEXION ET L’EMPLOI
INSTALLATIONS-UND BENUTZERHANDBUCH - MANUAL PARA EL CONEXIONADO Y EL USO - MANUAL DE INSTALAÇÃO E UTILIZAÇÃO
ISTRUZIONI PER IL COLLEGAMENTO DELL'UNITÀ DI
RIPRESA
CAMERA WIRING INSTRUCTIONS
INSTRUCTIONS POUR LA CONNEXION DE LA
CAMÉRA
Art. 570C

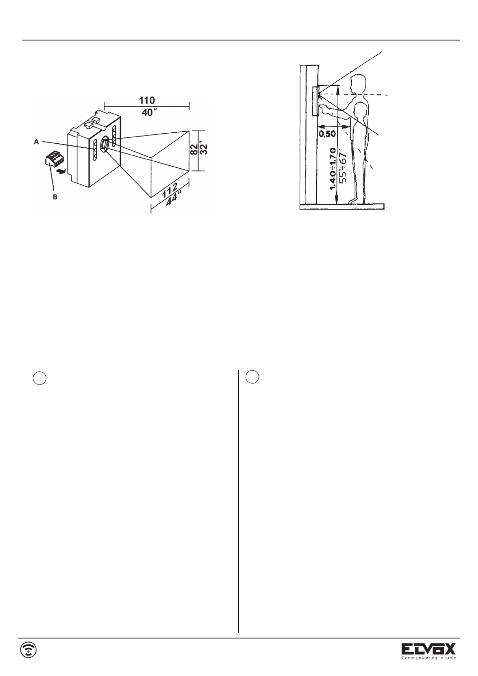
- Nella Fig. 2 è rappresentato il campo di ripresa della telecamera po -
si zio nan do la ad un altezza consigliata tra m. 1,40 e m. 1,70 da livello
terra.
- Fig. 2 shows the coverage of the camera, which should be mounted
at the raccomanded height from ground level (between 1.40 and 1.70
m.).
- La Fig. 2 répresente le champ de prise de vue de la caméra qui devrait
être montée à une hauteur entre 1,40m et 1,70 par rapport au sol.
- Fig. 2 stellt das Ausleuchtzone der Kamera dar, die sollte auf die emp-
folene Höhe zwischen 1,40 und 1,70 vom Boden befestigen werden.
- La Fig. 2 representa el campo de captación de la camera, que tendría
que ser montada a una altura aconsejada comperendida entre m. 1,40
y m. 1,70 desde el nivel de suelo.
- A Fig. 2 representa o campo de focagem da telecamara que acon-
selha-se ficar a uma altura do pavimento entre 1,40 e 1,70m.
Fig. 2
Questo tipo di unità di ripresa CCD può essere montato solo su targhe
serie 8000 e su targhe con buca posta Art. 5531/501S-502S e Art.
2550/301-302.
CARATTERISTICHE
- Sensore CCD da ¼”
- Obiettivo mini lens f= 3mm, F= 2,8
- Dimensioni reali dell’imagine: 500(H)x582(V) PAL
- Risoluzione 480 linee TV
- Rapporto segnale rumore: 45dB
- Diaframma elettronico (shutter).
- Tensione di uscita video 1 Vpp su carico di 75 Ohm
- Temperatura di funzionamento -5° +50° C
- Alimentazione 12 Vcc ±10%
- Livello di illuminazione al soggetto minore di 1,5 lux
- Illuminazione con led a luce bianca
- Morsettiera estraibile
Nella Fig. 1 è rap pre sen ta to il campo di ripresa a 1 metro di distanza. Es-
eguire i collegamenti di pag. 4. Alla te le ca me ra:
- Morsetto V(segnale video)
- Morsetto M(massa video e negativo alimentazione)
- Morsetti e M +T (alimentazione 12 Vcc)
Al posto esterno:
- Morsetti (al to 6 - 8 par lan te)
- Morsetti 6 - 7 (microfono am pli fi ca to)
Ai pulsanti di chiamata.
Alla serratura
Alla lampada di il lu mi na zio ne pulsanti.
N.B. Attenersi al manuale di istru zio ni allegato agli ali men ta to ri
Art. 6580-6581-6680-6681.
This CCD camera is mounted only on entrance panels series 8000 and
on entrance panels with letter box Art. 5531/501S-502S and Art.
2550/301-302.
CHARACTERISTICS:
- CCD 1/4" color sensor
- Mini lens f= 3mm, F= 2.8
- Effective picture: 500(H)x582(V) PAL
- Resolution: 480 TV lines
- S/N ratio: 45dB
- Electronic iris (shutter).
- Video output voltage 1Vpp on 75Ohms
- Operating temperature -5° +50°C
- 12V D.C. ±10% supply
- Minimum lighting level 1.5 lux
- Lighting be means of white light led
- Removable terminal block
Fig. 1 shows camera coverage angle at 1 metre distance.
Carry out wirings on page 4.
To camera:
- Terminal V (video signal)
- Terminal M(video ground and supply negative line)
- Terminal and M +T (12V D.C. supply)
To speech unit:
- terminals 6 - 8 for loudspeaker
- terminals 6 - 7 for amplified microphone
- to call push-buttons
- to door lock
- to push-button bulb.
N.B. Carefully follow instructions enclosed with power supplies Art.
6580-6581-6680-6681.
2/8
570C
B- Morsettiera estraibile
Removable terminal block
Barrette enfichable
Abnehmbare Klemmenleiste
Regleta extraible
Bornes extraíveis
ART. 570C
}
TELECAMERA
CAMERA
CAMÉRA
KAMERA
CÁMARA
TELECÂMARA
Fig. 1
A- Led a luce bianca
White light led
Led à lumière blanche
Weisslichtled
Led a luz blanca
Led de luz branca
GB
I

570C
3/8
Diese CCD-KAMERAEINHEITEN nur in Klingeltableaus der Serie 8000
montiert werden und an Klingeltableaus mit Briefkasten Art. 5531/501S-
502S und Art. 2550/301-302.
EIGENSCHAFTEN:
- CCD 1/4" Farbsensor
- Mini-Lens-Objektiv f= 3mm, F= 2,8
- Videoausgang 1Vpp auf 75Ohm
- Bildabmessungen: 500(H)x582(V) PAL
- Auflösung 480 TV-Linien
- Störungsignalverhältnis: 45dB
- Elektronisch blende (shutter).
- Betriebstemperatur von -5° + 50°C
- Versorgung 12V= ±10%
- Mindestbeleuchtung 1,5 lux
- Beleuchtung durch Weisslichtled
- Abnehmbare Klemmenleiste
In Fig. 1 ist die Ausleuchtzone bei 1 Meter Entfernung dargestellt.
Anschlüsse wie bei Schema Seite 4 ausführen:
Zur Kamera
- Klemme V(Videosignal)
- Klemme M(Videomasse und Minuspol der Betriebsspannung)
- Klemme M und +T (Betriebsspannung 12V=).
Zur Außenstelle:
- Klemmen 6 - 8 für Lautsprecher
- Klemmen 6 - 7 für verstärktes Mikrofon
- Zu Ruftasten
- Zu Türöffner
- Zu Birne für Tastenbeleuchtung (Auf der Kamera befindet sich eine
beleuchtete Taste, die mit den Klemmen 3 und 4 verbunden ist.
Nachts wird diese zum Lesen der Namensschilder gedrückt).
N.B. Bitte beachten Sie die den Netzgeräten Art. 6580-6581-6680-
6681 beiliegenden Erklärungen.
Este tipo de têlecâmara CCD tem de ser montado só em botoneiras
série 8000 e nas caixas de correio Art. 5531/501S-502S e Art. 2550/301-
302.
CARACTERÍSTICAS
- Sensor CCD 1/4" a cores
- Objectiva mini-lente f= 3mm, F= 2,8
- Dimensões da imagen: 500(H)x582(V) PAL
- Resolução 480 linhas TV
- Relação sinal zumbido: 45dB
- Diafragma electrónico (shutter).
- Tensão de saída de vídeo 1 Vpp sob carga de 75 Ohm
- Temperatura de funcionamento: -5°C +50°C
- Alimentação: 12Vc.c. ±10%
- Nível mínimo de iluminação do sujeito 1,5 lux
- Iluminação com led de luz branca
- Bornes extraíveis
Na Fig. 1 está representado o campo de focagem a 1 metro de distân-
cia. Executar as ligações da pag. 4.
Para a telecâmara:
- Terminal V(sinal de vídeo)
- Terminal M(massa video e negativo alimentação)
- Terminal e M +T (alimentação 12V c.c.)
Para o posto externo:
- Terminais (altifalante)6 - 8
- Terminais 6 - 7 (microfone amplificado)
Aos botões de chamada.
Ao trinco
À lâmpada de iluminação dos botões (ter presente que para tal fim a
telecâmara tem um botão luminoso ligado aos terminais 3 e 4. De noite
este botão deve ser premido para iluminar simultaneamente os cartões
porta-nomes.
N.B. Ler o manual de instruções que acompanha os alimenta-
dores Art. 6580-6581-6680-6681.
Este tipo de cámara CCD se monta solamente en las placas serie 8000
y en las placas con buzón Art. 5531/501S-502S y Art. 2550/301-302.
CARÁCTERISTICAS
- Sensor CCD 1/4" a colores
- Objetivo mini lente f= 3mm, F= 2,8
- Dimensiones de la imagen: 500(H)x582(V) PAL
- Resolución 480 líneas TV
- Proporción señal zumbido: 45dB
- Diafragma electrónico (shutter).
- Tensión de salida vídeo 1 Vpp sobre carga de 75 Ohm
- Temperatura de funcionamiento - 5° + 50° C
- Alimentación 12 Vcc ±10%
- Nivel mínimo de iluminación del sujeto 1,5 lux
- Iluminación con led a luz blanca
- Caja de conexiones extraible
En la Fig. 1 viene representado el campo de captación a 1 metro de dis-
tancia.
Ejecutar las conexiones de pag. 4.
En la cámara:
- Borne V(señal vídeo)
- Borne M (masa vídeo y negativo alimentación)
- Borne M y+T (alimentación 12 Vcc)
Desde el aparato externo:
- Bornes 6 - 8 (altavoz)
- Bornes 6 - 7 (micrófono amplificado)
En los pulsadores de llamada
En la cerradura
En la lámpara de iluminación pulsadores (tener presente que por esta
razón la cámara fue provista de un pulsador luminoso conectado a los
bornes 3 y 4. De noche este pulsador debe estar apretado para iluminar
de manera momentáneamente el tarjetero portanombres).
N.B. Seguir el manual de instrucciones adjunto a los alimenta-
dores art. 6580-6581-6680-6681.
Caméra à monter uniquement dans les plaques de rue série 8000 et
dans plaques de rue avec boîte aux lettres Art. 5531/501S-502S et Art.
2550/301-302.
CARACTÉRISTIQUES:
- Senseur CCD 1/4" couleurs
- Objectif mini lens f= 3mm, F= 2,8
-
Dimesiones reales de l’image: 500(H)x582(V) PAL
- Résolution 480 lignes TV
- Rapporte signal brouillard: 45dB
- Diaphragme électronique (shutter).
-
Tension de sortie vidéo 1 Vpp sur charge de 75 Ohm
- Température de fonctionnement -5° + 50° C
- Alimentation 12V c.c. ±10%
- Niveau d’éclairage minimum 1,5 lux
- Éclairage avec led à lumière blanche
- Barrette enfichable
La Fig. 1 représente le champ de prise de vue à 1m. de distance. Ef-
fectuer les raccordements selon la page 4. À la caméra:
- Borne V pour le signal vidéo
- Borne M (masse vídeo et négatif alimentation)
- Borne M et +T pour alimentation 12V c.c.
Au poste externe:
- Bornes 6 - 8 pour haut-parleur
- Bornes 6 - 7 pour microphone amplifié
- Aux poussoirs d’appels
- À la gâche
- Á l’ampoule pour l'éclairage des poussoirs.
(Á ce but la caméra est dotée d’un poussoir lumineux connecté aux
bornes 3 et 4. La nuit on doit presser ce poussoir pour éclairer momén-
tanément les étiquettes porte-noms).
N.B. Suivre attentivement le manuel d’instructions joint aux ali-
mentations Art. 6580-6581-6680-6681.
P
D
E
F
Produkspesifikasjoner
Merke: | Vimar |
Kategori: | fotokamera |
Modell: | ELVOX 570C |
Trenger du hjelp?
Hvis du trenger hjelp med Vimar ELVOX 570C still et spørsmål nedenfor, og andre brukere vil svare deg
fotokamera Vimar Manualer
25 August 2025
24 August 2025
24 August 2025
24 August 2025
24 August 2025
24 August 2025
24 August 2025
24 August 2025
24 August 2025
24 August 2025
fotokamera Manualer
- Zebra
- Fluke
- SereneLife
- Bresser
- Nikon
- Transcend
- Minox
- Xiaomi
- Acer
- Creative
- Rigol
- Blaupunkt
- Easypix
- Canon
- Renkforce
Nyeste fotokamera Manualer
7 Oktober 2025
7 Oktober 2025
6 Oktober 2025
6 Oktober 2025
6 Oktober 2025
6 Oktober 2025
5 Oktober 2025
5 Oktober 2025
4 Oktober 2025
4 Oktober 2025