Metra 82-3043 Bruksanvisning
Metra
høyttalerstøtte
82-3043
Les nedenfor 📖 manual på norsk for Metra 82-3043 (2 sider) i kategorien høyttalerstøtte. Denne guiden var nyttig for 2 personer og ble vurdert med 5.0 stjerner i gjennomsnitt av 1.5 brukere
Side 1/2

Disconnect neg&tlve
batte"
terminal to prevent accidental
short
circuit.
1.
Remcwe
(1)
screw
and
(1)
plastic
rivet
from
the
door lock and
remove
the door
lock panel.
2.
Remcwe
the plastic panel from
the
door
pun
handle
and
the
(2)
screws
exposed.
3.
Remcwe
(1)
plastic rivet
from
the
top-left corner
of
the
door panel.
4. Using a
removal
tool,
remove
the
window
crank
assembly.
rFor
trucks
with
power
windows,
unsnap
the control trim panel by
puning
the panel up
and
sliding It
forward.)
5. Carefully
unsnap
the plastic clips from the perimeter of the panel and
Oft
the panel
off.
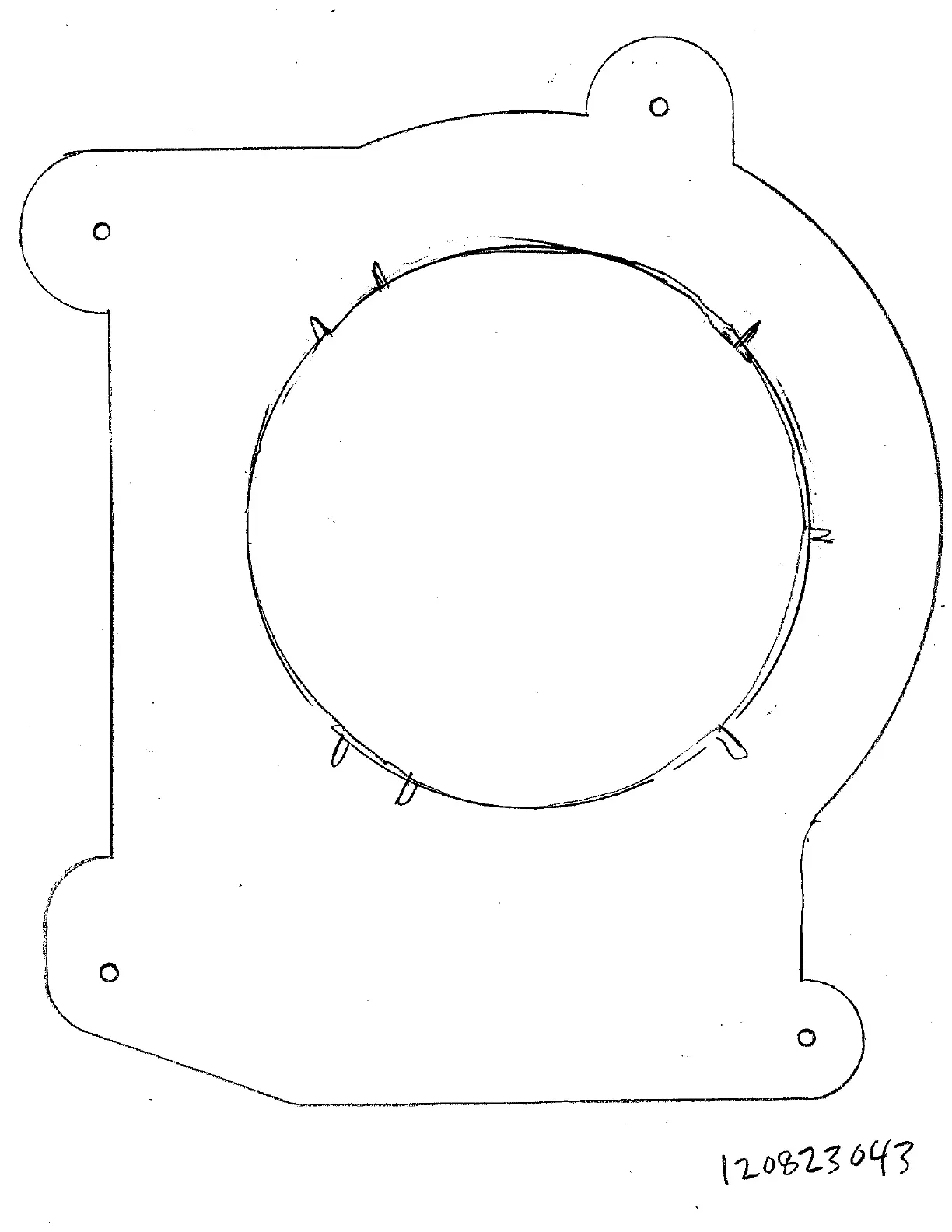
6. Secure the aftermarket speaker to the Speak8r Bracket and
make
wiring
connections.
(Attach the
foam
strip to the bracket or speak8r to enhance the speaker performance)
7.
Mount the Speak8r Bracket
assembly
to the door
with
(4)
#14 1/2-
Phillips screws supplied
In
the kit.
KIT COMPONENTS
Left
Speaker
S,.cket
(8)
.14
Phillips
screws
(2) Foam strips
020394
IIIIIIIIIIII
120823043
800-221-0932
Copyright
AMs
*'
Electronics
Corp.

o
o
\
~.
~
-~~/<'
----_.
o
o
Produkspesifikasjoner
Merke: | Metra |
Kategori: | høyttalerstøtte |
Modell: | 82-3043 |
Trenger du hjelp?
Hvis du trenger hjelp med Metra 82-3043 still et spørsmål nedenfor, og andre brukere vil svare deg
høyttalerstøtte Metra Manualer
9 Oktober 2025
9 Oktober 2025
9 Oktober 2025
8 Oktober 2025
8 Oktober 2025
8 Oktober 2025
8 Oktober 2025
høyttalerstøtte Manualer
- Sonorous
- Bang Olufsen
- Blaupunkt
- Yamaha
- Adam Hall
- Bowers Wilkins
- Omnitronic
- LD Systems
- Bose
- Rocketfish
- Teufel
- Vivolink
- Extron
- Konig & Meyer
- Vimar
Nyeste høyttalerstøtte Manualer
6 Oktober 2025
3 Oktober 2025
29 September 2025
26 September 2025
25 September 2025
25 September 2025
25 September 2025
25 September 2025
25 September 2025
25 September 2025