Draper Expert 23310 Bruksanvisning
Draper
Ikke kategorisert
Expert 23310
Les nedenfor 📖 manual på norsk for Draper Expert 23310 (4 sider) i kategorien Ikke kategorisert. Denne guiden var nyttig for 2 personer og ble vurdert med 3.6 stjerner i gjennomsnitt av 1.5 brukere
Side 1/4

BRAKE PIPE
FLARING
TURRET KIT
23310 – BPF/PRO/TURRET INSTRUCTIONS FOR USE
EN
Original Instructions
Version 2 – January 2023
Read this manual in full before using this product and retain it for future use. Always use the latest version of
the manual. Please visit drapertools.com/manuals for the latest version.
1. Intended Use
This product is designed to are brake pipes of
various sizes according to SAE Convex, DIN Convex
and SAE Double standards. Any other application
beyond the conditions established for use will be
considered misuse. Draper Tools accepts no
responsibility for improper use of this product.
Important: Ensure that you are familiar with the
various types of ares and their applications before
using this product. ALWAYS consult the vehicle
manufacturer’s instructions before use.
WARNING! Keep your hands clear of moving
parts, clamps and punches while using this
product and keep long hair and jewellery
tied back.
2. What’s in the Box?
(C2)
(E2)
(B)
(A)
(D)(C1)
(E1)
(F)
3. Operating Instructions
1. Clamp the base of the tool into a suitable
bench-mounted vice and screw the press lever
(B) into the lever socket (1).
2. Fully loosen the die clamp lever (2) and swing
the die clamp (3) open.
1 Fig.
(2)
(4)
(1)
(B)
(3)
3. Use 6. Flaring Reference Chart to determine
the correct die and punches for the required
are.
4. Clean the die of grease and place the two parts
horizontally into the die socket (4) with the
required mould directed towards the turret (5).
2 Fig.
(6)
(6)
(5)
(C/D/E/F)
(C/D/E/F)
Important: Ensure that both parts of the die are
in contact with the die stops (6).
A. 1 × Flaring tool
assembly
B. 1 × Press lever
C. 1 × 3 ⁄ 16" combi die
C1. 3 ⁄ 16" (4.75mm)
SAE die
C2. 4.75mm DIN die
D. 1 × 1 ⁄ 4" SAE die
E. 1 × 5 ⁄ 16" combi die
E1. 5 ⁄ 16” (8mm)
SAE die
E2. 8mm DIN die
F. 1 × 3 ⁄ 8" SAE die

5. Prepare the brake pipe; see 4. Preparing the
Brake Pipe.
6. Ensure that the tube nut (7) (not supplied) is
installed onto the brake pipe (8), then lightly
lubricate the end of the brake pipe using brake
uid or an appropriate oil and insert it through
the rear of the die.
3 Fig.
(8)
(7)
Important: Ensure that the end of the pipe is
ush with the face of the die.
7. Close the die clamp (3) and tighten the die
clamp lever (2) to secure the die in position.
Important: The die clamp must be very tight to
prevent the die and pipe from moving during the
operation. After tightening, ensure that the die
and pipe are correctly positioned.
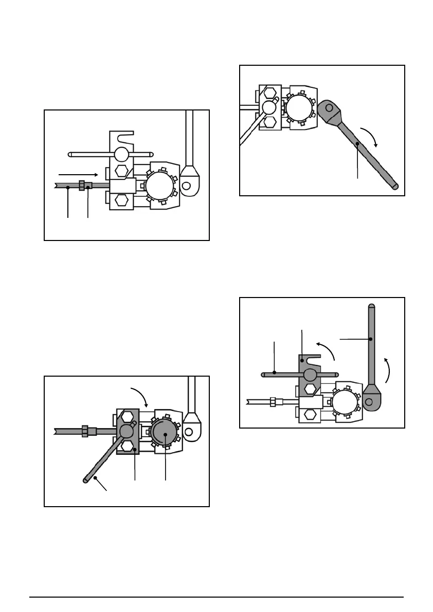
8. Rotate the turret (5) until the correct OP.1 punch
is directed towards the pipe.
4 Fig.
(2)
(3) (5)
Important: The punch number identied in the
chart (see 6. Flaring Reference Chart)
corresponds with the number in the blue ring at
the outer edge of the turret label. The numbers
are also marked on the nut of each punch.
9. Pull the press lever (9) to engage the punch with
the end of the pipe until rm resistance is felt,
then return the lever to its original position.
5 Fig.
(9)
10. If the chart identies a second operation
required for the are (SAE Double ares only),
rotate the turret to the required OP. 2 position
and pull the press lever to engage the punch.
11. Return the press lever (9) to its original position,
then loosen the die clamp lever (2) and open the
die clamp (3).
6 Fig.
(2)
(3)
(9)
12. Remove the die from the die socket and extract
the pipe from the die. If necessary, tap the die
gently on a suitable surface to release the pipe.
13. Check the quality of the are to ensure that the
pipe did not move during the operation and
blow any residual debris from the pipe.
– 2 –– 2 –
Produkspesifikasjoner
Merke: | Draper |
Kategori: | Ikke kategorisert |
Modell: | Expert 23310 |
Trenger du hjelp?
Hvis du trenger hjelp med Draper Expert 23310 still et spørsmål nedenfor, og andre brukere vil svare deg
Ikke kategorisert Draper Manualer
5 Oktober 2025
5 Oktober 2025
5 Oktober 2025
5 Oktober 2025
5 Oktober 2025
5 Oktober 2025
5 Oktober 2025
5 Oktober 2025
5 Oktober 2025
5 Oktober 2025
Ikke kategorisert Manualer
- USL
- Antelope
- Becken
- Ag Neovo
- Best
- GVM
- Budda
- Jedo
- Dymo
- HMS Premium
- Sungrow
- Omron
- Auriol
- Drive Medical
- Cleco
Nyeste Ikke kategorisert Manualer
5 Oktober 2025
5 Oktober 2025
5 Oktober 2025
5 Oktober 2025
5 Oktober 2025
5 Oktober 2025
5 Oktober 2025
5 Oktober 2025
5 Oktober 2025
5 Oktober 2025